|
|
|
 |
|
 |
|
 |
 |
 |
|
 |
 |
 |
|
 |
|
|
|
Innovationen, herausragende Entwicklungen und Patente der Dresdner Kamera- und Kinoindustrie
Außerhalb der einzelnen Modellreihen werden in diesem Abschnitt die
“Meilensteine” der Kameraentwicklung in Dresden und der näheren Umgebung noch einmal gesondert dargestellt und beschrieben. Dies ist nötig, da zahlreiche Entwicklungen in Dresden erfolgten,
aber erstmals in Kameramodellen anderer Hersteller auftauchten, da die Umsetzung im planwirtschaftlichen System nicht ohne weiteres durchführbar war. So dürfte kaum bekannt sein, dass die
TTL-Blitztechnik, ohne die heute eine vernünftige und unkomplizierte Nutzung eines Elektronenblitzes undenkbar wäre, ihren Anfang in Dresden nahm. Auch die spätere DX-Kodierung einer Filmpatrone geht auf
ein DDR-Patent von 1964 zurück. Unbestritten sind dagegen die Kine-Exakta als erste einäugige Kleinbild-Spiegelreflexkamera (wenn man von einigen englischsprachigen Publikationen absieht, die in
Unkenntnis der damaligen ideologisch geprägten Verhältnisse in der Sowjetunion, die 1936 publizierten Versuchsmuster der “Sport / Cnopm” als die Erste angeben), die Praktica FX 2 mit ihrer
weltweit ersten Automatikblende für entsprechende Objektive oder die Praktica LLC mit ihrer elektrischen Blendenwertübertragung.
|
|
|
 |
 |
|
1925: lichtstärkstes Objektiv der Welt “Ernostar 1:1,8” (Ernemann AG, Dresden)
Die Heinrich Ernemann AG Dresden bestückt ihre Plattenkamera Ermanox mit dem Objektiv Ernostar 1:1,8; damals das lichtstärkste Objektiv der Welt, eine optische Höchstleistung. Die Optik wurde 1922 von Ludwig
Bertele gerechnet und zunächst in der Lichtstärke 1:2 gefertigt.
|
|
|
 |
|
|
 |
|
|
Werbeanzeige Ernemann-Kamera mit Optik bis 1:1,8 (1926)
|
|
 |
 |
 |
 |
 |
 |
 |
 |
 |
 |
|
Ermanox-Reflex mit Ernostar 1:1,8
|
|
|
|
 |
|
|
|
Zeitraum 1931-1945
|
|
|
|
1933: Exakta 4x6,5 (Ihagee Kamerawerk Steenbergen & Co. Dresden) Die Exakta 4x6,5cm, später auch als Standard-Exakta bezeichnet, war 1933 die erste Spiegelreflexkamera für 127er-Rollfilm. Ausgerüstet mit horizontal ablaufendem
Tuch-Schlitzverschluss, Lichtschacht mit Rahmensucher, Wechseloptiken und ab 1935 erstmals mit synchronisiertem Vakublitzanschluss, kann diese Kamera als Vorläufer der späteren Kine-Exakta gelten. Wie diese
wurde sie von Karl Nüchterlein erdacht. Im Jahr 1933 wurde zunächst das Grundmodell mit den Belichtungszeiten 1/25, 1/50, 1/100, 1/200, 1/300, 1/600, 1/1000s, B und Z vorgestellt. Erstmalig wurde der Name Exakta
verwendet, hergeleitet wurde dieser durch die Betrachtung des exakten Bildausschnittes im Sucher der Spiegelreflexkamera. Durch den guten Absatz dieser Kamera wurden unterschiedliche Ausstattungsvarianten geplant.
So waren ab der 1. Baureihe 1934 drei verschieden ausgestattete Modelle im Angebot. Die Exakta A war das Modell ohne Langzeitenwerk mit Belichtungszeiten 1/25, 1/50, 1/100, 1/200, 1/300, 1/600, 1/1000s, B und Z
(ähnlich dem Grundmodell von 1933). Mit Langzeitenwerk für die zusätzlichen Zeiten von 1/10 bis 12s wurde die Exakta B ausgestattet. Das preiswerte Einstiegsmodell mit fest eingebauten Objektiven mit
Frontlinseneinstellung, ohne Langzeitenwerk, für die Zeitenreihe: 1/25, 1/50, 1/100, 1/200, 1/300, 1/400, 1/500s war die Exakta Junior. Zu Beginn der Produktion wurde diese Kamera noch als Ihagee Junior
bezeichnet. Als Sonderausstattung waren Modell A und B mit Plattenrückwand lieferbar.
|
|
|
 |
|
 |
 |
 |
 |
 |
 |
 |
|
 |
|
 |
|
|
|
Exakta B mit Vakublitzeinrichtung
|
|
|
|
1936: Kine Exakta (Ihagee Kamerawerk Steenbergen & Co. Dresden) Die weltweit erste Kleinbild-Spiegelreflexkamera
wurde ab März/April 1936 in Dresden produziert. Bei der Kine Exakta handelte es sich um eine Kamera für perforierten Kine-Film 24x36mm mit Leichtmetallgehäuse und fest eingebautem Lichtschachtsucher. Die Konstruktionsverantwortung lag bei Karl Nüchterlein. Der Tuchschlitzverschluss ermöglichte Zeiten von 12s bis 1/1000s sowie Z und B. Eine integrierte Filmabschneidevorrichtung erlaubte bereits den Wechsel teilbelichteter Filme. Es standen Wechselobjektive von 38 bis 500 mm Brennweite für das neue Exakta-Bajonett (US-Patent Nr. 2136149 vom 4.6.1937) zur Verfügung. Eine Blitzeinrichtung konnte bei Bedarf angeschlossen werden.
|
|
|
|
 |
|
|
|
Kine Exakta
|
|
|
|
War die Kine-Exakta wirklich die weltweit erste Kleinbild-Spiegelreflexkamera?
Der Ingenieur A. O. Gelgar des Leningrader Werkes GOMZ beschäftigte sich ab 1934 mit der Konstruktion einer einäugigen
Kleinbild-Spiegelreflexkamera in der damaligen Sowjetunion. Zunächst wurde die Kamera noch „Gelveta“ genannt. Erst 1935 entstanden die notwendigen Zeichnungssätze und im Jahr 1936 die Versuchsmuster, die jetzt
als „Sport“ (russisch: „Cnopm“) bezeichnet wurden. Unterstützt wurde Gelgar bei der Verbesserung der Prototypen durch die Konstrukteure Rybnikow und Pimenow. Der Beginn der Serienproduktion kann
schließlich auf 1937 datiert werden. Zum 20. Jahrestag der Oktoberrevolution, am 7. November 1937, wurden dann die ersten Kameras ausgeliefert. Da die Kameras nicht eindeutig nummeriert worden waren, lässt sich die
Stückzahl insgesamt schlecht einschätzen. Es wird von etwa 16000 Kameras bis 1941 ausgegangen. Damit ist aber die Kine-Exakta mit den ersten Musterkameras von 1935 und Produktionsstart vom April 1936 die erste
Spiegelreflexkamera für den Kinefilm 24x36 mm. Entscheidend ist jedoch nicht unbedingt die Feststellung, wessen Kamera früher auf dem Markt war, sondern dass unabhängig voneinander zwei Konstrukteure
unterschiedlicher Länder die Zeichen der Zeit erkannten und den Kleinbild- Sucherkameras wie Contax und Leica ein parallaxenfreies neues Kameramodell für den perforierten Kleinbild-Kinefilm entgegensetzen wollten
und konnten.
Hier noch einige technische Daten der „Sport“/„Cnopm“:
- einäugige Spiegelreflexkamera für Kleinbildfilm 24x36mm (Kinefilm)
- Verwendung mitgelieferter Filmkassetten für bis zu 50 Aufnahmen, Nutzung einfacher Spulen war möglich, erforderte
aber den Filmwechsel in der Dunkelkammer
- vertikal ablaufender Metallschlitzverschluss mit den Zeiten 1/25s, 1/50s, 1/100s, 1/200s, 1/500s und B
- interessante platzsparende Konstruktion des Verschlussablaufes: erster Verschlussvorhang bewegt sich vertikal nach
oben in den Sucherschacht und der zweite Verschlussvorhang dreht sich in Führungen aus der horizontalen in eine schräge Lage und dichtet dann das Spiegelgehäuse zum Film ab
- Objektivanschluss: Bajonett
- achromatisches Objektiv „Industar-10“ 1:3,5/5cm (es blieb das einzige für diese Kamera verfügbare Objektiv)
- fest eingebauter Lichtschacht mit fester Lupe und Einstellscheibe
- zusätzlicher optischer Newton-Sucher im Lichtschacht
|
|
|
|
1937: Ernemann VIIB (Zeiss Ikon AG) Die Kino- bzw. Bildtonmaschine Ernemann VIIB
(kombiniertes Bildtonwerk, Kühlung der Filmkammer durch Wasser und Luft) genoss wegen ihrer Perfektion und Zuverlässigkeit lange Zeit einen legendären Ruf.
|
|
|
 |
|
 |
|
 |
 |
 |
 |
 |
 |
 |
 |
 |
 |
 |
 |
 |
 |
|
1939/1940: Patente zur Innenlichtmessung einer Spiegelreflexkamera (Karl
Nüchterlein, Dresden)
- D.R.P. 57a/722 135: Spiegelreflexkamera mit Belichtungsmesser
- D.R.P. 57a/736 468: Spiegelreflexkamera mit Fotometer
- US-Pat. 2 297 428: Reflex Camera
Diese Patente Karl Nüchterleins enthielten bereits 1939 das
Prinzip der TTL-Innenlichtmessung einer Spiegelreflexkamera. In Ermangelung geeigneter Messzellen konnte diese Idee jedoch erst Anfang der 1950er Jahre umgesetzt werden. Karl Nüchterlein wurde am
14.03.1904 in Dresden geboren. Im Schreibmaschinenwerk Seidel & Naumann absolvierte er eine Mechniker-Lehre und wurde später Mechaniker und Konstrukteur im Ihagee-Kamerawerk Steenbergen & Co. Er hielt
zahlreiche Patente im Kamerabau, war an der Konstruktion der Ihagee Patent-Klapp-Reflex beteiligt und konstruierte die Standard-Exakta 4x6,5 und die Kine-Exakta. Von ihm wurden auch schon Teile der späteren
Exakta-Varex mit ihrem Wechselsuchersystem erdacht, leider erlebte er die Umsetzung seiner Vorplanungen nicht mehr. Er wurde während des Zweiten Weltkrieges zur Wehrmacht eingezogen, und gilt seit April 1945 als
vermisst.
|
|
|
 |
|
 |
|
|
|
Patentzeichnungen D.R.P. 57a/736 468: Spiegelreflexkamera mit Fotometer
|
|
|
|
 |
|
|
|
Zeitraum 1946-1960
|
|
|
|
1949: Praktica (Kamera-Werkstätten VEB Niedersedlitz b. Dresden)
Im Jahre 1949 wurde eine Kamera mit serienmäßigem M42x1-Gewindeanschluss, die erste Praktica, vorgestellt. Konstruiert wurde das neue Modell von Siegfried Böhm. Die Geburtsstunde des
“Praktica-Gewindes” lag allerdings weit früher. Ab 1946 wurde bei den Versuchsmustern der Contax-S grundsätzlich und 1947/48 bei der Praktiflex teilweise das M42x1-Gewinde benutzt. Der Anschluss M42x1
wurde in der Folgezeit von zahlreichen Kameraherstellern verwendet, unterschiedlich bezeichnet (Praktica-Gewinde, Pentax-Gewinde) und auch weiter entwickelt. Heute ist dieser Anschluss als reiner Objektivanschluss
selten geworden, an fast jede moderne Kamera können die alten M42-Optiken jedoch mittels passender Adapterringe angeschlossen werden. Zur Adaptierung von Spiegelreflexkameras an Mikroskope wird der M42-Anschluss oft
genutzt.
|
|
|
|
 |
|
|
|
Praktica mit M42x1-Anschluss
|
|
|
|
1949: Contax S (Mechanik Zeiss Ikon VEB Dresden)
Die Contax S gilt laut den meisten Quellen als die erste Spiegelreflexkamera der Welt mit fest eingebauten Pentaprismensucher. Es gibt einige Literaturangaben über eine noch frühere Serienproduktion der
italienischen Rectaflex. Hier sind leider die Ausstattung (Spiegelsystem wie der Rectaflex-Prototyp von 1947 oder umgestellt auf Prisma?) sowie die Art und Zeiträume der Produktion (Prototypen, Vorserie, Serie)
bisher nicht eindeutig belegbar. Welche Kamera wirklich die erste ihrer Art war, ist heute nicht leicht zu überprüfen, hier bleibt noch viel Raum für Forschungsarbeiten. Die ungarische Duflex jedoch, die ebenfalls
in dieser Zeit auf den Markt kam, besitzt ein Sucher-Spiegelsystem und kein Sucher-Pentaprisma. Die Contax nutzte als Objektivanschluss das M42x1-Gewinde und der horizontal ablaufende Tuch-Schlitzverschluss wies
einen Belichtungszeitenbereich von 1/1000s bis 1s und B auf. Die Einstellung der Zeiten erfolgte an einem einzigen Zweibereichs-Zeitenknopf (1s bis 1/20s und 1/50s bis 1/1000s). Je nach verwendetem
Belichtungszeitenbereich wählte die Kamera automatisch die Blitzsynchronisation X (1/20s bis 1s) oder F (1/50s bis 1/1000s). Bereits 1948 auf der bedeutendsten Mustermesse Nordeuropas, der St.-Eriks-Messe
in Stockholm gezeigt, erfolgte die offizielle Vorstellung dieser Spiegel-Contax auf der Leipziger Frühjahrsmesse 1949. In den Jahren 1949 und 1950 begann bei MECHANIK Zeiss Ikon VEB Dresden die Serienproduktion der
Contax S.
|
|
|
|
 |
|
 |
|
 |
 |
 |
 |
 |
 |
 |
 |
 |
 |
 |
 |
|
1955: Systemkamera Praktina FX (VEB Kamera-Werke Niedersedlitz) Die
seit 1953 gefertigte Praktina FX erhielt ab 1954 eine interne Blendenhalbautomatik und wurde 1955 mit umfangreichen Systemzubehör ausgestattet. Die Praktina FX war eine frühe Systemkamera
mit zahlreichen ansetzbaren Aufbaugeräten wie 17m-Kassette, Federwerk- oder Elektromotor mit Fernauslöser. 1958 entstand die Praktina IIa mit Blendenautomatik für vollautomatische Objektive. Die Nikon F als der Systemkamera-Klassiker erschien erst 1959.
Zu der technischen Ausstattung:
- Kleinbild-Spiegelreflexkamera
- horizontal ablaufender Tuchschlitzverschluss
- Verschlusszeitenbereich B, 1s -1/1000s (ab der Praktina IIA geometrisch gestuft
- Vorlaufwerk/Selbstauslöser (5-10s variabel)
- 7 Zubehörwechselstellen:
- 1. Filtergewinde am Objektiv (u. a. für Filter, Stereovorsätze, Endoskop und Spektroskop)
- 2. Steckbajonett für Wechselobjektive, von der Funktionsweise ähnlich den Anschlüssen der späteren Praktisix,
Pentacon six, Altix und Pentina, jedoch alle anders dimensioniert
- 3. Wechselstelle für Einstellscheiben im Kameragehäuse
- 4. Wechselsucher (u. a. Lichtschacht, Prismeneinsatz, Lupensucher, Prismeneinsatz mit ungekuppeltem
Belichtungsmesser ab 1958, Stereosucher)
- 5. Wechselstelle am Okular des Prismeneinsatzes (u. a. für Blitzschuh, Augenkorrekturglasfassung)
- 6. austauschbare Gehäuserückwand (für 17-m-Kassette)
- 7. Kuppelstelle für Aufzugsgeräte am Gehäuseboden (für Schnellaufzugshebel, Federmotor bzw. 12V-Elektomotor mit
Magnetauslöser)
- zusätzlicher Newton-Sucher im Kameragehäuse, als Durchsichtsucher passend für den Bildwinkel der Normalobjektive
- Blendeninnenauslösung: ab Praktina FX Modell 1954 für halbautomatische Objektive (nur Auslösung der
Blende, Springblende), ab Praktina IIA Modell 1958 für vollautomatische Objektive (Spannen und Auslösen der Blende, automatische Springblende-ASB)
|
|
|
|
 |
|
|
|
Praktina FX mit Systemzubehör
|
|
|
|
1956: Praktica FX 2 (VEB Kamera-Werke Niedersedlitz)
Ab Mitte 1956 erhielten die Praktica FX 2-Kameras serienmäßig die weltweit erste innenauslösende Automatikblende
für entsprechende Objektive an einer Kleinbild-Spiegelreflexkamera. Erste Prototypen dieser Technik wurden bereits 1955 gezeigt. Ende 1956 wiesen auch die Contax F / Pentacon F und 1958 die Praktina IIa dieses Ausstattungsmerkmal auf.
|
|
|
 |
|
|
|
Praktica FX 2
|
|
|
|
 |
|
|
|
Zeitraum 1961-1970
|
|
|
|
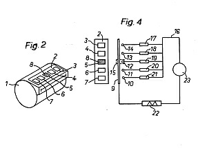
1964: Patent (WP 57a/106 144, Anmeldedatum 21.08.1964) einer
Filmkassette mit Kontaktgeber zur Eingabe von Steuergrößen in die Kamera (Herbert Müller, VEB Filmfabrik Wolfen; Werner Hahn, VEB Pentacon Dresden)
Dieses Patent nahm die DX-kodierte Filmpatrone der Firma
Kodak zwanzig Jahre vorweg. Das Prinzip, mit Hilfe verschiedener Kontaktflächen der Filmpatrone, Steuergrößen in die Kamera einzugeben, entspricht dem der DX-Kodierung. Das Patent war bei der
Einführung dieser Kodierung bereits abgelaufen.
|
|
|
|
 |
|
 |
|
|
|
Patentzeichnungen WP 57a/106 144: Filmkassette mit Kontaktgeber zur Eingabe von Steuergrößen in eine
Kamera
|
|
|
|
1965: Praktica mat (VEB Pentacon Dresden) Nachdem
die japanische Topcon RE super (1963) und die Pentax Spotmatic (1964, Prototyp bereits 1960) erstmals mit einer TTL-Innenlichtmessung
aufwarten konnten, besaß die Praktica mat diese Technik als erste europäische Spiegelreflexkamera ab 1965. Das Nachfolgemodell Praktica super TL (1968) brachte es auf stattliche 509 000 produzierte Einheiten.
|
|
 |
 |
|
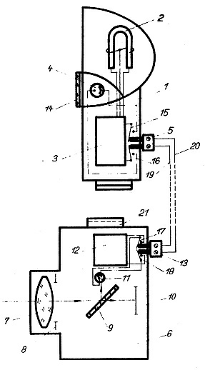
1968: TTL-Blitzbelichtungsmessung:
- Offenlegungsschrift (57c, 1 797 079, Anmeldedatum 12.08.1968)
Blitzlichtgerät mit photoelektrischer Blitzzeitbildungsvorrichtung (Kurt Langnau, ELBE Kamera GmbH / VEB Pentacon Dresden)
- Auslegeschrift (57c, 1 797 078, Anmeldedatum 12.08.1968)
Photographische Kamera mit Belichtungsmessvorrichtung und anschließbaren Blitz (W. Hennig, H. Schulze, ELBE Kamera GmbH / VEB Pentacon Dresden)
Die Kameras aus Dresden konnten bereits in den 1970er Jahren
nur noch über den Preis auf dem Weltmarkt konkurrieren. Der technologische Vorsprung der Hersteller aus Japan war uneinholbar. Neue hervorragende Ideen konnten meist aus technologischen Gründen nicht umgesetzt
werden. So ging eine der herausragendsten Erfindungen aus Dresden, die TTL-Blitzbelichtungsmessung oder Blitzinnenmessung
von Kurt Langnau, in diesem Teufelskreis unter. Die Offenlegungsschrift von 1968 (eine bereits geschützte Vorstufe eines Patentes) wurde auf Grund fehlender Elektronikbauteile von Pentacon im April 1975 an Olympus Optical Co. Ltd. Tokyo verkauft, wo bereits seit einiger Zeit an ähnlichen Systemen umfassend gearbeitet wurde. Von Olympus wurde diese Innovation zur Serienreife gebracht (Olympus Patent: DE 1 797 079 C3; Erfinder: Kurt Langnau, Dresden). Diese Technik ist zweifellos eine der bedeutendsten Dresdner Entwicklungen auf dem fototechnischem Gebiet. Sämtliche komplizierten Blitzberechnungen mit Leitzahl, Blende und Entfernung gehören seither der Vergangenheit an. Die Kamera misst während des eigentlichen Blitzens permanent die Belichtung durch das Objektiv und dosiert die Lichtmenge des Blitzgerätes bis der Blitz nach Erreichen eines korrekten Belichtungswertes abgeschaltet wird. Mit den Modellen Praktica BX 20, BX 21 und BX 20 S wurde diese Blitzinnenmessung schließlich auch in Dresdner Kameras verwendet.
|
|
|
 |
 |
|
Patentzeichnung der Offenlegungsschrift von 12.08.1968, 57c/1 797 079:
Blitzlichtgerät mit photoelektrischer Blitzzeitbildungsvorrichtung
|
|
 |
 |
 |
 |
 |
 |
 |
 |
|
 |
 |
 |
 |
 |
 |
 |
 |
 |
 |
|
1969: Praktica LLC (VEB Pentacon Dresden)
Die weltweit erste Kleinbild-SLR mit elektrischer Übertragung des Blendenwertes
und TTL-Messung bei Offenblende, die Praktica LLC (1969), war das Spitzenmodell der ersten Generation der Praktica L-Reihe. Die zugehörigen electric-Objektive wiesen einen innenliegenden Regelwiderstand auf, der die Stellung des Blendenringes an die Kamera über 3 Kontaktbahnen übermittelte. 1970 zum Verkaufsbeginn war die Kamera zunächst mit dem Oreston electric 1,8/50, dem Orestegon electric 2,8/29 und dem Orestor electric 2,8/100 mit elektrischem Spannungsteiler (EST) erhältlich. Die Objektivpalette wurde schrittweise erweitert. Mit konventionellen M42-Optiken war eine Umschaltung auf Messung bei Arbeitsblende möglich.
|
|
|
 |
|
 |
|
|
Praktica LLC, weltweit erstmals elektrische Übertragung
des Blendenwertes und TTL-Messung bei Offenblende
|
|
|
 |
|
|
|
Praktica LLC (schwarz)
|
|
|
|
 |
|
|
|
Zeitraum 1971-1990
|
|
|
|
1971: Patent (WP 57a/151 385, Anmeldedatum 26.07.1971) einer
Belichtungseinstelleinrichtung mit optischer Anzeige, die Helligkeit des Leuchtindikators ist dabei der Objektleuchtdichte angepasst (Siegfried Schütze, VEB Pentacon Dresden)
Bei der Belichtungsmessanzeige mittels Glimmlampen oder
später Leuchtdioden besteht grundsätzlich das Problem, dass die Helligkeit dieser Leuchtindikatoren bei hellen Objekten zu dunkel und bei Objekten mit wenig Licht zu hell erscheint. Dabei kann das Bild überstrahlt
und im schlimmsten Fall der Lichtempfänger der Kamera beeinflusst werden. Im Patent wird eine Konstellation beschrieben, die die Helligkeit der Indikatoren permanent auf die Helligkeit des Sucherbildes abstimmt
. Nach der Praktica DTL 2 (1978) und DTL 3 (1979) kam diese Technologie in allen folgenden Modellen mit Leuchtdioden im Sucher zum Einsatz und wurde an zahlreiche Firmen weiterlizenziert (u. a. Asahi und Minox).
|
|
|
 |
|
 |
|
|
Praktica DTL 2/3-Kameras mit Belichtungsmessanzeige über
Leuchtdioden, die Helligkeit der Anzeige wird hier automatisch an die jeweilige Leuchtdichte des Objektes angepasst.
|
|
|
1977: Praktica EE 2 (VEB Pentacon Dresden) Mehrere
Jahre nachdem 1971 die japanische Asahi Pentax Electro Spotmatic (Pentax ES) als TTL-Zeitautomat vorgestellt wurde, konnten die Dresdner Hersteller keine vergleichbare Technik entgegensetzen. Erst 1977 kam dann der
Zeitautomat
Praktica EE 2 auf den Markt. Hier mussten größere technologische Probleme u. a. mit flexiblen Leiterplatten umgangen und statt dessen mehrere starre Leiterplatten miteinander verdrahtet werden. Auf mikroelektronischem Gebiet konnte der nunmehr offensichtliche Rückstand der Dresdner Kameraindustrie nicht mehr aufgeholt werden.
|
|
|
 |
|
|
|
Praktica EE 2 mit Zeitautomatik
|
|
|
|
 |
|
|
|
Weiterführende Literatur
- Blumtritt, Herbert: Die Geschichte der Dresdner Fotoindustrie. Lindemanns
Verlag 2000, ISBN 3-89506-212-X
-
Decker, Alexander: High Tech aus der DDR: Pentacon super. PhotoDeal III/1997.
- Decker, Alexander: Pioniere der SLR. PhotoDeal IV/1996.
- Hummel, Richard: Kalendarium zur 150jährigen Geschichte des Dresdener
Kamerabaues. Verlagsbüro Irene Reintzsch Leipzig 1992
- Hummel, Richard: “Kine Exakta” oder “Sport”? Welche war die erste
Spiegelreflex-Kleinbildkamera? Lindemanns Verlag 1997, ISBN 3-89506-160-3
- Hummel, Richard: Spiegelreflexkameras aus Dresden. Edition Reintzsch Leipzig, 1995, ISBN 3-930846-01-2 oder
3-89506-127-1
- Jehmlich, Gerhard: Der VEB Pentacon Dresden. Sandstein Verlag Dresden 2009,
ISBN 978-3-940319-75-3
- Rudolph, P. Gerhardt; Schrauf, Heinz: 50 Jahre Praktica. PhotoDeal IV/1999.
- Schrauf, Heinz: Von Altissa bis Zeiss - Meilensteine im deutschen
Kamerabau. PhotoDeal II/1994.
- Schulz, Alexander: Praktica Baureihe FX 2 und FX 3. PhotoDeal IV/1993.
-
Wittenburg, Jan-Peter: Die Praktina - eine “Böhm”-Reflex. PhotoDeal IV/2006.
|
|
|
 |
|
 |
|
|
|
 |
|
 |
 |
 |
|
Diese Internetseite und alle zugehörigen Seiten unterliegen dem Urheberrecht. Keine Inhalte dieser Seiten dürfen ohne ausdrückliche schriftliche Zustimmung der
entsprechenden Autoren in anderen elektronischen oder gedruckten Publikationen verwendet werden.
This page and all dependent pages are copyrighted. No contents of these pages may be reproduced in whole or in part without the express written permission of the
copyright holders.
|
|
|
.
|
|
|